怀远县人民政府印发关于进一步规范农村宅基地审批管理工作的实施意见的通知
各乡、镇(街道)人民政府(办事处),县直相关部门:
《关于进一步规范农村宅基地审批管理工作的实施意见》已经县政府同意,现印发给你们,请认真贯彻落实。
2026年1月13日
关于进一步规范农村宅基地审批管理
工作的实施意见
为进一步规范我县农村宅基地审批管理工作,依法保护农民合法权益,促进乡村全面振兴,根据《中华人民共和国土地管理法》《中华人民共和国农村集体经济组织法》《安徽省农业农村厅 安徽省自然资源厅关于进一步加强农村宅基地审批管理的实施意见》及《农村宅基地用地建房联审联办工作手册(试用)》等文件精神,结合我县实际,提出如下实施意见。
一、规范审批流程
(一)申请条件
农村村民且属集体经济组织成员,符合下列条件之一的,可以向户口所在地集体经济组织申请使用宅基地:
1.因结婚等原因,确需建房分户,原宅基地面积低于分户标准的;
2.因自然灾害或者实施村镇规划需要搬迁的;
3.经县级以上人民政府批准回原籍落户,没有住宅需要新建住宅的;
4.原有宅基地被依法征收,或者因公共设施和公益事业建设被占用的;
5.县级以上人民政府规定的其他条件。
(二)面积标准
宅基地是农村村民用于建造住宅及其附属设施的集体建设用地,包括住房、附属用房和庭院等用地。农村村民一户只能拥有一处宅基地。农村村民新建住宅,其宅基地的面积标准为:
1.城郊和农村集镇,每户不得超过160平方米;
2.自然村每户不得超过220平方米。
农村村民应当严格按照批准面积建设住宅,禁止未批先建、超面积占用宅基地。超过规定的标准,多占的宅基地以非法占用土地论处。
(三)办理程序
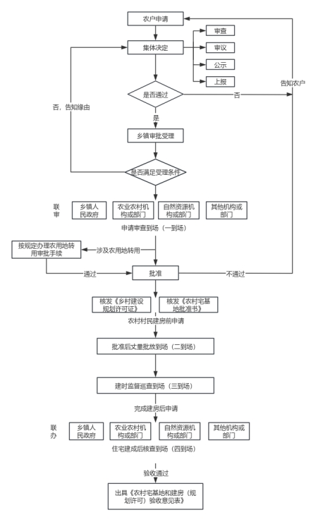
宅基地分配遵循“一户一宅”、面积限定、规划管控等原则,按照农户申请、集体决定、乡镇审批的程序实施(具体流程参见附件1)。
1.农户申请。符合宅基地使用权申请条件的农村村民,可以以农户为单位向本农村集体经济组织申请宅基地使用权,也可以由农村集体经济组织代为申请。申请人应提交农村宅基地和建房(规划许可)申请表(材料1)、农村宅基地使用承诺书(材料2)、身份证复印件(材料3)、居民户口簿复印件(材料4)等申请材料。
2.审查。农村集体经济组织审查申请人提交的材料是否真实有效、拟用宗地是否符合村庄规划,出具本集体经济组织成员
证明(材料5)、“一户一宅”证明(材料6)、征求相邻权利人意见情况(材料7)等证明材料,并根据审查情况提出审查意见。
3.审议。农村集体经济组织理事会将申请人的申请材料,农村集体经济组织出具的相关证明材料、审查意见等提交农村集体经济组织成员大会或成员代表大会审议,形成农村集体经济组织成员(代表)会议记录(材料8)。
4.公示。宅基地使用权申请经农村集体经济组织成员(代表)会议讨论通过后,由农村集体经济组织将申请理由、拟用地位置和面积、拟建房层高和面积、农村集体经济组织成员(代表)会议记录等情况在本农村集体经济组织范围内公示(材料9),公示期限不少于5日。相邻权利人认为宅基地使用权申请侵害其合法权利的,应当在公示期结束前提出,由农村集体经济组织成员大会或者代表大会讨论形成意见。
5.上报。公示期满无异议或者异议不成立的,由农村集体经济组织完善农村宅基地和建房(规划许可)申请表,将相关材料报乡镇(街道)人民政府审核批准。
农村集体经济组织应当向乡镇(街道)人民政府报送以下申报材料:
(1)《农村宅基地和建房(规划许可)申请表》;
(2)《农村宅基地使用承诺书》;
(3)家庭户口簿复印件和户主及申请人身份证复印件;
(4)本集体经济组织成员证明;
(5)“一户一宅”证明;
(6)征求相邻权利人意见情况(附签字时照片、签名需按手印、意见必须明确、署清签署时间);
(7)农村集体经济组织成员(代表)会议记录;
(8)农村集体经济组织成员(代表)大会审议情况公示。
6.受理。乡镇(街道)人民政府(办事处)收到用地申请后,根据下列情形分别作出处理:
(1)申请材料齐全且符合规定形式的,予以受理:
(2)申请材料存在可以当场更正错误的,当场更正后受理;
(3)申请材料不齐全或者不符合规定形式的,当场或者在五个工作日内一次性告知需要补正的全部内容。
7.部门联审。乡镇(街道)人民政府(办事处)受理用地申请后,由分管领导组织农业综合服务中心、自然资源和规划等相关部门进行现场勘查(一到场),根据审查情况填写用地申请审查到场记录表(材料10)。
(1)乡镇(街道)自然资源和规划所负责审查用地建房是否符合国土空间规划、用途管制要求,其中涉及占用农用地的,应在办理农用地转用审批手续后,核发乡村建设规划许可证;在乡、村庄规划区内使用原有宅基地进行农村村民住宅建设的,可按照本省(自治区、直辖市)有关规定办理规划许可。
(2)对涉及住房城乡建设、生态环境、林草、水利、电力、交通、通讯、文物等行业管理的,及时征求有关机构或部门、单位意见。
(3)农业综合服务中心负责审查申请人是否符合申请条件、拟用地是否符合宅基地合理布局要求和面积标准、宅基地和建房(规划许可)申请是否经过农村集体经济组织审核公示等。
审查内容包括:
①申请人是否符合申请条件;
②申请是否经过农村集体经济组织审议通过和公示;
③拟用宗地是否符合宅基地合理布局要求和面积标准;
④拟用宗地是否符合有关规划、土地用途管制、安全保障等要求;
⑤其他依法依规需要审查的内容。
在乡镇(街道)、村庄规划区内进行农村村民住宅建设的,应当依法办理乡村建设规划许可。涉及占用农用地的,应当在依法办理农用地转用审批手续后,核发乡村建设规划许可证;其中,占用林地、草原的,应当依法办理占用林地、草原审批。
拟用宗地涉及电力、水利、交通、通讯、文物等行业管理的,应当征求相关机构或部门、单位的意见。
8.乡镇(街道)审批。乡镇(街道)人民政府(办事处)应当自受理用地申请之日起20个工作日内作出决定,并将审批情况(材料11)向县农业农村局、县自然资源和规划局备案。依法需要办理农用地转用审批的,所需时间不计算在20个工作日内。
批准用地的,以农户为单位,可依据授权核发乡村建设规划许可证(材料12),一并发放农村宅基地批准书(材料13)。农村宅基地批准书应当包括宅基地位置、面积、四至、有效期限等内容。
不予批准的,乡镇(街道)人民政府(办事处)应当书面告知申请人,并说明不予批准的理由,同步告知相关农村集体经济组织。有下列情形之一的,不予批准:
(1)宅基地选址不符合乡镇(街道)国土空间规划和村庄规划的;
(2)占用永久基本农田的;
(3)将原有住房出卖、出租、赠与他人或者改作生产经营用途的;
(4)申请另址新建住房,未签订退出原有宅基地协议的;
(5)在地质灾害易发区选址建房可能引发地质灾害的;
(6)不符合相关法律法规和政策规定的。
(四)建房要求
农村村民应当在批准的宅基地位置、面积和四至范围内,按照规划许可内容建造住宅及其附属设施。房屋四至(含滴水)垂直下落投影、庭院等均应当控制在经批准使用的宅基地范围内。法律法规规定了相关建设审批程序的,依照其规定办理。
(五)特殊情形处理
1.拆旧建新。农村村民原地拆旧建新面积不超过原批准用地范围的,无需办理宅基地审批手续,但应当依法办理乡村建设规划许可证;超过原批准用地范围建住宅的,应当重新审批。
2.历史遗留问题。对2020年1月1日之前历史形成的宅基地面积超标、“一户多宅”等问题,由县自然资源和规划局和乡镇(街道)人民政府(办事处)组成工作专班,联查联办,按照宅基地占用时国家和地方有关法规政策分类认定,妥善处理。
二、保障住宅建设合理用地
(一)计划指标单列
乡镇(街道)每年底需认真排查下一年度本区域内计划建房户数及用地面积,上报县农业农村局和县自然资源和规划局。县自然资源和规划局应在年度土地利用计划中单列安排,原则上不低于新增建设用地计划指标的5%,专项保障农村村民住宅建设用地,年底实报实销。当年保障不足的,下一年度优先保障。
(二)农用地转用审批
对农村村民宅基地涉及办理农用地转用手续的,由乡镇(街道)人民政府(办事处)提出农用地转用申请。符合农用地转用条件的,县自然资源和规划局按《中华人民共和国土地管理法》第四十四条有关规定,及时拟订农用地转用方案,一次性或分批次向市级申请办理农用地转用审批手续。
(三)加强规划管控
在县、乡级国土空间规划和村庄规划中,要为农村村民住宅建设用地预留空间。已有村庄规划的,要严格落实。没有村庄规划的,要统筹考虑宅基地规模和布局,与未来规划做好衔接。要优先利用村内空闲地,尽量少占耕地。
(四)落实占补平衡
对农村村民住宅建设占用耕地的,县自然资源和规划局要通过储备补充耕地指标、实施土地整治补充耕地等多种途径统一落实占补平衡,不得收取耕地开垦费。
(五)完善退出机制
鼓励进城落户的农村村民依法自愿有偿退出宅基地。鼓励农村集体经济组织及其成员通过自主经营、合作经营、委托经营等方式盘活利用闲置宅基地和闲置农房。
三、明确工作职责
(一)县农业农村局
负责建立健全宅基地分配、使用、流转、违法用地查处等管理制度,完善宅基地用地标准,指导宅基地合理布局、闲置宅基地和闲置农房利用;组织开展农村宅基地现状和需求情况统计调查,及时将农民建房新增建设用地需求通报县自然资源和规划局;参与编制国土空间规划和村庄规划;指导调解因农村宅基地审批、占用、处置引起的矛盾纠纷。
(二)县自然资源和规划局
负责国土空间规划、土地利用计划和规划许可等工作,在国土空间规划中统筹安排宅基地用地规模和布局,满足合理的宅基地需求,依法办理农用地转用审查报批和规划许可等相关手续,指导查清宅基地及房屋的坐落、界址、面积、权属等,以及宅基地不动产登记,确权颁证,指导调解因农村宅基地确权、权属、土地性质、规划、用地保障引起的矛盾纠纷。
(三)乡镇(街道)
负责农村村民住宅用地审核批准;履行属地责任,优化审批流程,提高审批效率,建立一个窗口受理、各相关工作机构联动运行的联审联办机制,明确材料审核、现场勘查等环节的工作职责和办理时限;在受理场所公示办事指南,公布申请条件、审批程序、办理时限和所需材料等内容,提供规划、地籍数据查询等用地选址服务;建立审批台账;可依据授权发放乡村建设规划许可证,一并核发农村宅基地批准书;对用地建房全过程监督管理,全面落实宅基地管理“四到场”要求,即批前选址到场、批准后丈量批放到场、建中巡查监管到场、住宅建成后核查到场,加强事前事中事后监管;负责乡镇(街道)国土空间规划和村庄规划的组织实施、农用地转用申请;调查调解农村宅基地引起的矛盾纠纷;负责查处城镇居民到农村购买农房、宅基地以及退休干部到农村占地建房案件;指导农村集体经济组织依法履行宅基地管理职能。
(四)农村集体经济组织
按照宅基地所有权归属,依法代表成员集体行使宅基地所有权。负责核查申请人的本集体经济组织成员身份、“一户一宅”等情况;征求相邻权利人意见,审查拟用宗地是否符合村庄规划;组织召开农村集体经济组织成员大会或成员代表大会集体讨论并开展公示;配合乡镇(街道)人民政府(办事处)落实“四到场”要求,对用地建房全过程进行监督管理;负责村民宅基地用地调整,宅基地退出处置和村民宅基地违法用地的现场劝止,及时向乡镇(街道)人民政府(办事处)报告等相关工作。
四、保障措施
宅基地选址必须符合国土空间规划和村庄规划,严禁占用永久基本农田。村庄规划批准实施之前,在与生态保护红线及现行的乡级土地利用总体规划不冲突的情况下,宅基地规划管理可参照现行村土地利用规划、和美乡村规划等规划,实行“一事一议”制度,确保与编制实施的“多规合一”实用性村庄规划衔接。构建网格化巡查机制,乡镇(街道)综合行政执法部门每周至少开展1次巡查,村级协管员每日常态巡查,对巡查发现的问题,依法责令停止建设、限期整改,拒不整改的,依法组织拆除。在做好动态巡查的同时要严格落实“四到场”制度,实现用地建房全过程监督管理。对违法占用耕地、擅自改变宅基地用途等行为,由县农业农村、自然资源部门依法查处。涉及党员干部失职渎职的,移交纪检监察机关追究责任。建立宅基地审批管理责任倒查机制,对因监管不力导致违法违规问题频发的乡镇(街道),严肃追究相关责任人责任。
附件:1.农民宅基地用地建房申请审批办理流程图
2.农民建房“四到场”
3.乱占耕地建房八不准
4.农村宅基地用地建房材料清单
附件1
农村宅基地用地建房联审联办工作流程图

附件2
农民建房“四到场”
1.用地申请审查到场(一到场)。乡镇(街道)人民政府组织农业综合服务中心、自然资源和规划等部门到现场勘测定界,确定位置、面积、地类、权属及四至范围。农民建房必须符合建房条件,选址合理,严禁占用基本农田,必须符合土地利用总体规划和村庄规划,必须实地踏勘、测量用地面积,做到选址成图。
2.批准后丈量批放到场(二到场)。农村村民住宅建设开工前,应向乡镇(街道)人民政府申请现场划定宅基地用地范围,乡镇(街道)人民政府应当及时组织农业综合服务中心、自然资源和规划等部门实地丈量批放宅基地确定位置、四至、界址,明确建设要求。
3.建中巡查监管到场(三到场)。乡镇(街道)人民政府组织农业综合服务中心、自然资源和规划等部门人员,加强对农民建房用地的日常监管,及时发现和制止违法占地建设的行为。防止乱建多占,改变用地性质,并做到巡查有记录。
4.住宅建成后核查到场(四到场)。农村村民住宅完成建设后,乡镇(街道)人民政府应当及时组织农业综合服务中心、自然资源和规划等部门人员开展验收,实地核查是否按照批准的位置、四至、界址、面积等使用宅基地,是否按照规划许可要求等开展建设,并出具验收意见。
附件3
农村乱占耕地建房“八不准”
一、不准占用永久基本农田建房。
二、不准强占多占耕地建房。
三、不准买卖、流转耕地违法建房。
四、不准在承包耕地上违法建房。
五、不准巧立名目违法占用耕地建房。
六、不准违反“一户一宅”规定占用耕地建房。
七、不准非法出售占用耕地建的房屋。
八、不准违法审批占用耕地建房。
附件4
农村宅基地用地建房材料参考清单
1.农村宅基地和建房(规划许可)申请表
2.农村宅基地使用承诺书
3.身份证复印件(参考模板)
4.居民户口簿复印件(参考模板)
5.本集体经济组织成员证明(参考模板)
6.“一户一宅”证明(参考模板)
7.征求相邻权利人意见情况(参考模板)
8.农村集体经济组织成员(代表)会议记录(参考模板)
9.农村集体经济组织成员(代表)大会审议情况公示(参考模板)
10.用地申请审查到场记录表(一到场)(参考模板)
11.农村宅基地和建房(规划许可)审批表
12.乡村建设规划许可证
13.农村宅基地批准书
14.丈量批放到场记录表(二到场)(参考模板)
15.建中巡查监管到场(三到场)(参考模板)
16.农村宅基地和建房(规划许可)验收意见表(四到场)
材料1
|
农村宅基地和建房(规划许可)申请表 |
|||||||||||||||||||
|
申请人信息 |
姓名 |
|
性别 |
|
年龄 |
|
联系电话 |
|
|||||||||||
|
身份证号 |
|
户口所在地 |
|
||||||||||||||||
|
家庭成员信息 |
姓名 |
年龄 |
与申请人关系 |
身份证号 |
户口所在地 |
||||||||||||||
|
|
|
|
|
|
|||||||||||||||
|
|
|
|
|
|
|||||||||||||||
|
|
|
|
|
|
|||||||||||||||
|
|
|
|
|
|
|||||||||||||||
|
现宅基地及农房情况 |
宅基地面积 |
m2 |
建筑面积 |
m2 |
权属证书号 |
|
|||||||||||||
|
现宅基地处置情况 |
1.保留( m2); 2.退给村集体;3.其他( ) |
||||||||||||||||||
|
拟申请宅基地及建房(规划许可)情况 |
宅基地面积 |
m2 |
房基占地面积 |
m2 |
|||||||||||||||
|
地址 |
|
||||||||||||||||||
|
四至 |
东至: 南至: |
建房类型:1.原址翻建 2.改扩建 3.异址新建 |
|||||||||||||||||
|
西至: 北至: |
|||||||||||||||||||
|
地类 |
1.建设用地 2.未利用地 3.农用地(耕地、林地、草地、其它 ) |
||||||||||||||||||
|
住房建筑面积 |
m2 |
建筑层数 |
层 |
建筑高度 |
m |
||||||||||||||
|
是否征求相邻权利人意见: 1.是 2.否 |
|||||||||||||||||||
|
申请 理由 |
申请人: 年 月 日 |
||||||||||||||||||
|
村民小组意见 |
负责人: 年 月 日 |
||||||||||||||||||
|
村集体经济组织或村民委员会意见 |
(盖章) 负责人: 年 月 日 |
||||||||||||||||||
材料2
农村宅基地使用承诺书
因(1.分户新建住房 2.按照规划迁址新建住房 3 .原址改、扩、翻建住房 4.其他)需要 , 本人申请在 乡 ( 镇、街道) 村 (社 区 ) 组用地建房,现郑重承诺 :
本人为本集体经济组织成员, 本人及家庭成员符合“ 一户一宅 ”申请条件, 申请材料真实有效;
宅基地和建房申请经批准后, 我将严格按照批复位置和面积动工建设, 在批准后 月 内建成并使用 ;
新住房建设完成后, 按照规定 日内拆除旧房及其他地上建筑物, 并无偿退出原有宅基地( 或将原宅基地连带其上物无偿交由本集体经济组织处置)。
如有隐瞒或未履行承诺, 本人愿承担一切经济和法律责任。
承诺人 :
年 月 日
材料3
身份证复印件( 参考模板)

材料4
居民户口簿复印件( 参考模板)

材料5
本集体经济组织成员证明(参考模板)
兹有 乡 ( 镇、街道) 村( 社区、组) 组村民 , 性别 : □男□女, 身份证号 : , □是□否属于本集体经济组织成员 , □是□否享有本集体经济组织成员的权利并履行本集体经济组织成员的义务。
情况属实, 特此证明 !
集体经济组织( 公章)
年 月 日
材料6
“ 一户一宅 ” 证明( 参考模板)
兹有 乡 ( 镇、街道) 村( 社区、组) 组村民 , 性别 : □男□女, 身份证号 : ,经调查 , 该户符合 “ 一户一宅 ” 条件,无其他宅基地 。
情况属实 , 特此证明 !
集体经济组织( 公章)
年 月 日
材料7
征求相邻权利人意见情况(参考模板)
兹有申请人 拟在 乡 ( 镇、街道) 村( 社区) 组用地建房, 层 , 长 米, 宽 米 ,檐 口高度 米。所建房屋与相邻权利人保持适 当 间距 ,东 米, 南 米, 西 米 , 北 米 。本集体经济组织已征求相邻权利人意见, 有关情况如下。
1 . 年 月 日, 通过 □电话 □当面 □其他(填写具体方式) 沟通方式征求了东边户 意见, 其对该用地建房申请□有□无异议 , 异议(如有)为 。
2 . 年 月 日, 通过 □电话 □当面 □其他(填写具体方式) 沟通方式征求了西边户 意见, 其对该用地建房申请□有□无异议 , 异议(如有)为 。
3. 年 月 日, 通过 □电话 □当面 □其他(填写具体方式) 沟通方式征求了北边户 意见, 其对该用地建房申请□有□无异议 , 异议(如有)为 。
4. 年 月 日, 通过 □电话 □当面 □其他(填写具体方式) 沟通方式征求了南边户 意见, 其对该用地建房申请□有□无异议 , 异议(如有)为 。
针对有关异议,本集体经济组织将在成员 大会或者代表大会讨论形成意见 。
集体经济组织( 公章)
年 月 日
材料8
农村集体经济组织成员(代表)会议
记录( 参考模板)
时 间: 年 月 日
地 点:
出席人员:( 签字按手印)
主 持 人: 记录人 :
今天召开农村集体经济组织成员(代表)会议, 审议本村村民(集体经济组织成员 ) 的用地建房申请 ,申请事由 ,申请面积 ㎡ , 建房类型属于(原址翻建/改扩建/异址新建) ,申请建房地块的四至界址:东至 ,西至 ,南至 ,北至 。
会议对 的用地建房申请的实际情况进行了研究,认为该户申请情况□是□否属实,□是□否符合条件及要求;相邻权利人□有□无异议,异议 (如有)□是□否成立 ,□同意□不同意通过, 经张榜公示无异议后,报送上级审批 。
集体经济组织(公章)
年 月 日
材料9
农村集体经济组织成员(代表)大会
审议情况公示(参考模板)
经农村集体经济组织成员(代表)大会审议决定,拟同意上报 等 户 的用地建房申请。为方便群众监督,对建房户情况进行张榜公示,公示期满无异议或异议理由不成立的,报上级审批。
一、公示时间(不少于5日)
年 月 日至 年 月 日止 。
二、反馈方式
联系电话 :
三、公示内容
|
姓名 |
在册 人口 |
占地面积 |
地类 |
建房地址 |
建房面积 |
建筑 层 数 |
性质 |
|
XX |
X人 |
XXm2 |
居住 用地 |
XX组X号 |
XXm2 |
X 层 |
原址翻建、改扩建、 异址新建 |
|
|
|
|
|
|
|
|
|
1.农村集体经济组织成员(代表)会议记录
2.征求相邻权利人意见情况
集体经济组织(公章)
年 月 日
材料10
用地申请审查到场记录表(一到场)
(参考模版)
|
申请人信息 |
姓名 |
|
性别 |
|
身份证号 |
|
||||
|
家庭住址 |
|
联系号码 |
|
|||||||
|
拟申请 用地及 建房情 况 |
申请用地坐落 |
|
申请理由 |
|
||||||
|
用地面积 |
m2 |
房基占地面积 |
m2 |
|||||||
|
性质 |
1.原址翻建 2.改扩建 3.异址新建 |
建筑形态 |
1、独栋 2、 户联建 |
|||||||
|
住房建筑面积 |
|
建筑层数 |
|
建筑高度 |
|
|||||
|
用地地类 |
建设用地 |
m2 |
未利用地 |
m2 |
||||||
|
农用地(耕地、林地、草地、其它地) |
m2 |
|||||||||
|
拟用地四至 |
东至: |
南至: |
||||||||
|
西至: |
北至: |
|||||||||
|
(示意图,并标明与永久性参照物的大概距离。) |
||||||||||
|
现场审查情况 |
1.申请人□是□否符合申请条件; 2.申请□是□否经过农村集体经济组织讨论决定和公示; 3.拟用宗地□是□否符合宅基地合理布局要求和面积标准; 4.拟用宗地□是□否符合有关规划、土地用途管制、安全保障等要求; 5.□是 □ 否 符 合 其 他 依 法 依 规 需 要 审 查 的 内 容 :
|
审查意见:
经现场踏勘, □是□否符合审查内容条件
审查人员签字: 年 月 日 |
||||||||
材料11
农村宅基地和建房(规划许可)审批表
|
申请人信息 |
姓名 |
性别 |
身份证号 |
家庭住址 |
申请理由 |
|||||||
|
|
|
|
|
|
||||||||
|
拟批准宅基地及建房情况 |
宅基地面积 |
m2 |
房基占地面积 |
m2 |
地址 |
|
||||||
|
四至 |
东至: 南至: |
性质: 1.原址翻建; 2.改扩建; 3.异址新建。 |
||||||||||
|
西至: 北至: |
||||||||||||
|
地类 |
1.建设用地 2.未利用地 3.农用地(耕地、林地、草地、其它) |
|||||||||||
|
住房建筑面积 |
m2 |
建筑层数 |
层 |
建筑高度 |
m |
|||||||
|
自然资源部门意见 |
(盖 章)
负责人: 年 月 日 |
|||||||||||
|
其他部门意见 |
负责人: 年 月 日 |
|||||||||||
|
农业农村部门审查意见 |
(盖 章) 负责人: 年 月 日 |
|||||||||||
|
乡镇人民政府审核批准意见 |
(盖 章)
负责人: 年 月 日 |
|||||||||||
|
宅 基 地 坐 落 平 面 位 置 图 |
(盖 章) |
|
现场踏勘人员: 年 月 日 |
|
|
制图人: 年 月 日 |
|
|
备注 |
图中需载明宅基地的具体位置、长宽、四至,并标明与永久性参照物的具体距离。 |
材料12

材料13

材料14
丈量批放到场记录表(二到场)(参考模板)
到场日期 年 月 日
|
申请人姓名 |
农房位置 |
宅基地面积 |
建筑面积 |
建筑层数 |
|
|
|
|
|
|
|
乡村建设规划许可证号 |
农村宅基地批准书号 |
|||
|
|
|
|||
|
现场放线图片、重要参照物数据记录等。 |
||||
|
开工放线到场人员签名 |
|
|||
|
“ 二到场”开工前放线到场:严格按照《乡村建设规划许可证》放线,做好数据测量,记录好放线距固定参照物距离。 |
||||
材料15
建中监督巡查到场记录表(三到场)
(参考模板)
到场日期 年 月 日
|
申请人姓名 |
农房位置 |
宅基地面积 |
建筑面积 |
建筑层数 |
|
|
|
|
|
|
|
巡查发现具体问题 |
|
|||
|
监督巡查到场人员签名 |
|
|||
|
“ 三到场”建中监督巡查到场:严格按照审批位置、面积等进行巡查监督,防止乱建多占,改变用地性质。 |
||||
材料16
农村宅基地和建房(规划许可)验收
意见表(四到场)
|
申请人 |
|
身份证号 |
|
|||||
|
乡村建设规划许可证号 |
|
|||||||
|
农村宅基地批准书号 |
|
|||||||
|
开工日期 |
|
竣工日期 |
|
|||||
|
批准宅基地面积 |
m2 |
实际宅基地面积 |
m2 |
|||||
|
批准房基占地面积 |
m2 |
实际房基占地面积 |
m2 |
|||||
|
批建层数/高度 |
层/ 米 |
竣工层数/高度 |
层/ 米 |
|||||
|
退还宅基地情况 |
1.不属于 2.属于, 已落实 3.属于, 尚未落实 |
|||||||
|
竣工平面简图(标注长宽及四至) |
经办人: |
|||||||
|
验收单位意见 |
农业农村部门意见:
(盖章) 经办人: 年 月 日 |
自然资源部门意见:
(盖章) 经办人: 年 月 日 |
||||||
|
乡镇人民政府验收意见 |
(盖章) 负责人: 年 月 日 |
|||||||
|
备注 |
|
|||||||
中国政府网
皖公网安备34032102100001号
违法和不良信息举报中心